Vacuum blood collection tube drawing volume tester
- Product Details
- Company Profile
The Vacutainer blood collection tube in clinical use is large and wide, and its quality is directly related to human health and life safety. It is one of the key indexes of the production enterprises because the drawing volume of blood vessel is directly affected by its use. To this end, the national standard yy0314-2007 has a clear regulation on the volume of blood vessel suction.
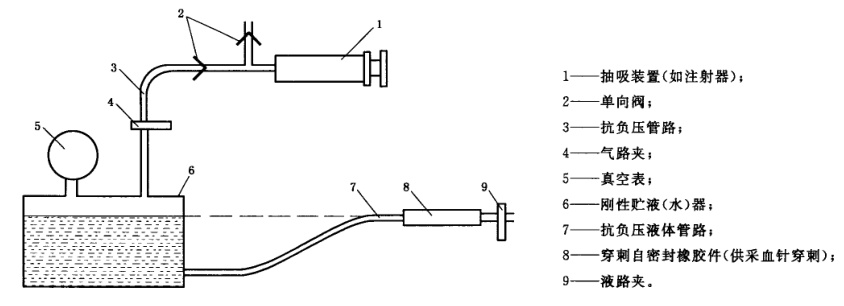
The testing principle of blood vessel suction volume tester is shown in the figure below:
The testing tube is inserted into the test system, so that it is consistent with the pressure in the left tank. Then according to the elevation of blood tube application, the tester will create different pressure value. After waiting for one minute for the pressure to stabilize, the weight of tube before and after test is compared to determine the drawing volume.

RDVT-01 Vacuum blood collection tube drawing volume tester is convenient in use, digital input, and the system will automatically keep constant pressure in accordance with the change of liquid level in the tank, so as to guarantee the accuracy of the test.

Technical data:
Vacuum degree: 0~-90 KPa









Free Member
0
Chinese
Supplier
